Giới thiệu chung Que đo mức thực phẩm cảm biến đo mức nước nóng 300 độ que đo mức nước nóng
Que đo mức cảm biến báo mức công tắc báo mức của nhà sản xuất AFRISO xuất xứ Đức đã tạo dựng được danh tiếng lâu dài về chất lượng cao, kết cấu chắc chắn và hiệu suất đáng tin cậy trong những ứng dụng khắt khe nhất. Que đo mức thực phẩm cảm biến đo mức nước nóng que đo mức nước nóng 300 độ C thường được sử dụng trong các ứng dụng có một mức nhất định mà bộ điều khiển của hệ thống cần phát hiện.
Que đo mức là cảm biến để phát hiện mức (Cao = Đầy hoặc Thấp = Rỗng) của vật liệu trong bình, bể chứa, v.v. Nó đưa ra tín hiệu rơ le khô BẬT hoặc TẮT để bắt đầu hoặc dừng nạp/xả vật liệu.
Các bình có dung tích lớn hơn đôi khi cũng cần theo dõi mức trung gian chứ không chỉ mức Cao và mức Thấp, và trong trường hợp này, Bộ truyền mức thường được sử dụng để theo dõi mức liên tục theo thời gian thực trong bình.
Luôn có thể điều chỉnh công tắc tiếp điểm theo hệ thống. Luôn có chức năng Thường mở (NO) hoặc chức năng Thường đóng (NC). Thường mở có nghĩa là tiếp điểm còn nguyên vẹn trừ khi công tắc chuyển mạch. Thường đóng thì ngược lại, nghĩa là tiếp điểm thường đóng nhưng khi công tắc chuyển mạch thì tiếp điểm sẽ mở. Khi mức tăng hoặc giảm trở lại mức của chức năng ban đầu, tiếp điểm sẽ mở hoặc đóng lại theo chức năng.
Một số ví dụ về các loại Que đo mức
Lắp đặt theo chiều dọc
Lắp đặt theo chiều ngang
Que đo mức thực phẩm cảm biến đo mức nước nóng 300 độ que đo mức nước nóng lắp đặt theo chiều dọc
Là loại phổ biến nhất, phiên bản này sử dụng lắp đặt theo chiều dọc để chuyển mạch theo mức trong bể hoặc bồn.
Que đo mức thực phẩm cảm biến đo mức nước nóng 300 độ que đo mức nước nóng lắp theo chiều ngang
Que đo mức ngang sử dụng một cánh tay có gắn phao để theo dõi mức chất lỏng và chuyển mạch khi cánh tay được đẩy lên hoặc xuống hết mức có thể. Nguyên lý hoạt động giống như công tắc mức dọc, nhưng bố cục theo chiều ngang có nghĩa là thường đạt được tuổi thọ dài hơn.
Hình ảnh Que đo mức thực phẩm /Công tắc mức độ dẫn điện Conductivity level switch CoFox ® ELT 680

Hình ảnh Que đo mức hóa chất, nước nóng, LPG, xi măng, thực phẩm... đo liên tục Guided micropulse level indicators PulsFox ® PMG 20

.png)
.webp)
Cấu tạo của Que đo mức thực phẩm cảm biến đo mức nước nóng 300 độ que đo mức nước nóng
Bao gồm : Đầu, ren, thanh cảm biến, bộ hiển thị
Đầu của que đo mức thực phẩm que đo mức nước nóng 300 độ C được làm bằng inox hoặc nhôm. Trên đầu có tích hợp domino để đấu cable hoặc phiên bản cao hơn thì trên đầu có bộ hiển thị 5 số điện tử. Có option Ex version.
Phần ren của que đo mức được làm bằng inox 316, 316 Ti. Ren kết nối ¾’’, 1’’, Triclamp DIN 32676, ⌀ 34 mm, Triclamp DIN 32676, ⌀ 50.5 mm.
Thanh cảm biến của que đo được làm bằng vật liệu inox 316, 316L, 316Ti. Chiều dài thanh cảm biến sẽ theo tùy chọn của các bạn. Tối đa lên đến 12,000mm.
Que đo mức thực phẩm cảm biến đo mức nước nóng 300 độ que đo mức nước nóng có 2 loại:
Đo mức một điểm ( 1 que), hai điểm ( 2 que), 3 điểm ( 3 que)
.webp)
Đo mức dạng liên tục



Nguyên lý hoạt động của Que đo mức thực phẩm cảm biến đo mức nước nóng 300 độ que đo mức nước nóng
Que đo mức dẫn điện Conductivity level switch CoFox ® ELT 680 hay còn gọi là công tắc báo mức hoạt động chính xác như thế nào?
Hai điện cực được lắp phía trên bề mặt của chất lỏng dẫn điện cần theo dõi. Nếu mức chất lỏng tăng đến mức cả hai điện cực đều tiếp xúc với chất lỏng, mạch dòng điện của rơle được kết nối sẽ hoàn thành thông qua hai điện cực và chất lỏng, kích hoạt tín hiệu chuyển mạch.
Độ dẫn điện tối thiểu của chất lỏng phải là 10 µS/cm. Hầu như tất cả các chất lỏng dẫn điện, chẳng hạn như nước, axit và kiềm, đều đáp ứng được các điều kiện này, ngoại trừ dung môi nguyên chất.
Nếu cần nhiều điểm chuyển mạch, nên sử dụng nhiều điện cực. Để tránh các hiệu ứng điện trong chất lỏng, dòng điện xoay chiều DC tự do được sử dụng để đo. Dòng điện này được tạo ra bởi rơle điện cực hoặc bộ chuyển đổi.
Có thể dễ dàng và tiết kiệm để phát hiện mức giao diện bằng phương pháp đo này. Đặc biệt với các bộ tách dầu và xăng, giá trị giới hạn giữa nước và chất lỏng không dẫn điện rất dễ phát hiện.
Khi bình được làm bằng vật liệu dẫn điện, nó có thể đóng vai trò là tham chiếu cho một điện cực đơn lẻ nhưng nếu bình không dẫn điện thì cần phải thêm một điện cực nữa.
Que đo mức liên tục Guided micropulse level indicators PulsFox ® PMG 20 hoạt động như thế nào ?
Sản phẩm hoạt động theo nguyên lý đo TDR (TDR-Time Domain Reflectometry).
Đo mức liên tục. Xung lan truyền dọc theo điện cực dưới dạng sóng điện từ hướng đến phần mức của sóng điện từ, tại đó nó bị phản xạ một phần và phản xạ trở lại mô-đun thu của thiết bị điện tử. Thiết bị điện tử đo thời gian truyền của sóng điện từ và tính toán khoảng cách hiện tại (thực tế) đến mức. Sau đó, dựa trên độ cao của mức, đầu ra dòng điện của thiết bị đo mức 4 ... 20 mA được thiết lập bằng giao tiếp HART hoặc đường truyền RS-485 công nghiệp với giao tiếp Modbus RTU và giá trị đo được sẽ hiển thị trên màn hình. Đơn vị hiển thị trên màn hình (%, mm, cm, m, in, ft, l, hl, m 3 , gal, bbl, mA). Ngôn ngữ: Tiếng Anh, Tiếng Đức.

Ưu điểm của việc sử dụng Que đo mức thực phẩm cảm biến đo mức nước nóng 300 độ que đo mức nước nóng
Ưu điểm của Que đo mức thực phẩm Conductivity level switch CoFox ® ELT 680
Đa năng cho nhiều loại chất lỏng, có thể xử lý các chất ăn mòn và môi trường nhiệt độ cao.
Một thiết bị để phát hiện mức đa điểm
Thiết kế đơn giản: Cảm biến mức dẫn điện có thiết kế đơn giản với ít bộ phận chuyển động, giúp dễ dàng lắp đặt, bảo trì và khắc phục sự cố.
Tiết kiệm chi phí: Các cảm biến này tương đối rẻ so với các công nghệ đo mức khác, khiến chúng trở thành lựa chọn hấp dẫn cho các ứng dụng có ngân sách hạn hẹp. Rất ít hoặc không cần bảo trì.
Hiệu suất đáng tin cậy: Cảm biến mức dẫn điện cung cấp các phép đo chính xác và nhất quán, ngay cả trong môi trường đầy thách thức hoặc khi xử lý các vật liệu ăn mòn hoặc nhớt.
Dễ dàng thiết lập và vận hành
Phát hiện mức điểm chi phí thấp
Không có bộ phận chuyển động
Không cần hiệu chuẩn
Vận hành an toàn
Ưu điểm của Que đo mức hóa chất, nước nóng, LPG, xi măng...đo liên tục Guided micropulse level indicators PulsFox ® PMG 20
Đo mức không phụ thuộc vào sự thay đổi về áp suất, nhiệt độ hoặc mật độ
Đo lường ổn định, đáng tin cậy ngay cả với bọt, hơi, bụi hoặc bề mặt hỗn loạn của môi trường
Vỏ chắc chắn cho điều kiện môi trường khắc nghiệt
Không cần bảo trì, không bị hao mòn
Nhược điểm khi sử dụngQue đo mức thực phẩm cảm biến đo mức nước nóng 300 độ que đo mức nước nóng
Nhược điểm của que đo mức thực phẩm Conductivity level switch CoFox ® ELT 680 là gì ?
Độ chính xác hạn chế với chất lỏng có độ dẫn điện thấp, cần xem xét phạm vi độ dẫn điện của chất lỏng.
Giới hạn vật liệu: Cảm biến mức dẫn điện bị giới hạn ở vật liệu dẫn điện, nghĩa là chúng không thể sử dụng với chất lỏng không dẫn điện, chẳng hạn như dầu hoặc với vật liệu rắn.
Điện phân và suy thoái đầu dò: Mặc dù việc sử dụng AC điện áp thấp giúp giảm thiểu điện phân, nhưng đầu dò vẫn có thể bị mài mòn và ăn mòn theo thời gian, đặc biệt là khi xử lý các vật liệu có tính ăn mòn.
Độ nhạy nhiễm bẩn: Độ chính xác của cảm biến mức dẫn điện có thể bị ảnh hưởng bởi sự tích tụ của chất bẩn hoặc cặn bẩn trên đầu dò, đòi hỏi phải vệ sinh và bảo dưỡng thường xuyên để đảm bảo hoạt động đáng tin cậy.
Sự khác nhau của que đo mức dẫn điện Conductivity level switch CoFox ® ELT 680 và que đo mức liên tục Guided micropulse level indicators PulsFox ® PMG 20
Que đo mức dẫn điện/Công tắc báo mức Conductivity level switch CoFox ® ELT 680
Nó chỉ cho phép bạn kiểm soát lưu lượng trong khi giám sát lưu lượng, công tắc mức là thiết bị đơn giản hơn phục vụ cho một mục đích khác. Chúng được thiết kế để kích hoạt một hành động—chẳng hạn như bật hoặc tắt máy bơm—khi mức chất đạt đến một điểm cụ thể. Công tắc mức rất quan trọng đối với các ứng dụng yêu cầu các hoạt động kiểm soát cơ bản, chẳng hạn như làm đầy hoặc làm rỗng thùng chứa, và thường được sử dụng trong sản xuất thực phẩm và đồ uống, dược phẩm, dầu khí, hóa chất và hệ thống HVAC.
Que đo mức liên tục Guided micropulse level indicators PulsFox ® PMG 20
Là một thiết bị theo dõi, cảm biến mức công nghiệp là những thiết bị tinh vi liên tục đo mức của một chất trong một thùng chứa. Chúng cung cấp dữ liệu thời gian thực, rất quan trọng để duy trì mức phù hợp, tránh tràn và đảm bảo các quy trình hoạt động trơn tru. Cảm biến đo mức là giải pháp phù hợp cho các ứng dụng yêu cầu giám sát liên tục, chính xác, bao gồm các cơ sở xử lý nước, ngành thực phẩm, ngành sản xuất lò hơi, ngành dầu khí và sản xuất hóa chất.
Sự khác biệt chính giữa que đo mức liên tục và que đo mức dẫn điện
Mặc dù ứng dụng chính của cả hai thiết bị đo mức là giúp ngành công nghiệp quản lý lưu lượng, dù là thủ công hay thông qua các phương tiện máy tính, nhưng cần cân nhắc kỹ lưỡng trước khi áp dụng bất kỳ loại nào. Khi đối mặt với yêu cầu về đo mức liên tục hoặc công tắc đo mức tùy chỉnh cho một phạm vi ứng dụng nhất định, hãy liên lạc với công ty Phát Đạt. Chúng tôi sẽ giúp bạn hiểu rõ hơn về những điểm tinh tế và lợi ích của từng phương án thay thế, cũng như đề xuất giải pháp tối ưu cho ứng dụng cụ thể của bạn.
Chức năng: Que đo mức Guided micropulse level indicators PulsFox ® PMG 20 cung cấp các phép đo mức liên tục, trong khi công tắc báo mức dẫn điện Conductivity level switch CoFox ® ELT 680 cung cấp khả năng điều khiển nhị phân (bật/tắt) dựa trên các mức đã chỉ định.
Độ phức tạp và đầu ra dữ liệu: Que đo mức PulsFox ® PMG 20 phức tạp hơn, cung cấp dữ liệu phong phú, trong khi công tắc báo mức Conductivity level switch CoFox ® ELT 680 cung cấp các chỉ báo đơn giản, có thể thực hiện được.
Tính phù hợp với ứng dụng: Que đo mức PulsFox ® PMG 20 phù hợp với các hệ thống đòi hỏi phải giám sát liên tục và kiểm soát độ chính xác. Công tắc báo mức CoFox ® ELT 680 lý tưởng cho các hoạt động đơn giản, tự động đòi hỏi phải can thiệp trực tiếp.
Khi bạn cần tìm nguồn cung cấp que đo mức liên tục và công tắc đo mức điều quan trọng là phải chọn nhà cung cấp có thể xử lý các yêu cầu riêng biệt, đặc biệt là trong điều kiện khắc nghiệt. Các mối quan tâm chính bao gồm khả năng tương thích với một số vật liệu, hoàn cảnh vận hành và yêu cầu về độ chính xác.
Hãy cân nhắc các yếu tố sau khi thiết kế que đo mức liên tục và công tắc đo mức theo yêu cầu
Khả năng tương thích với vật liệu
Khả năng chống chịu với môi trường
Độ chính xác và độ chính xác
Phạm vi nhiệt độ hoạt động
Điều kiện áp suất
Các nhà máy có sở thích khác nhau đối với que đo mức liên tục và công tắc báo mức tùy thuộc vào nhu cầu riêng và tình hình hoạt động của bạn. Trong trường hợp bạn vẫn còn bối rối không biết nên chọn loại nào, Sau đây là tóm tắt ngắn gọn về các ngành ưa chuộng loại thiết bị đo mức cụ thể nào và lý do tại sao
Xử lý nước và quản lý nước thải: Que đo mức được ưa chuộng để theo dõi liên tục mức nước và chất lượng.
Ngành dầu khí: Công tắc báo mức thường được sử dụng để kiểm soát an toàn bể chứa, trong khi cảm biến mức được sử dụng để đo chính xác trong quá trình lưu trữ và xử lý.
Sản xuất hóa chất: Que đo mức, cảm biến đo mức được sử dụng để theo dõi chính xác và liên tục thể tích hóa chất, cũng như công tắc mức để ngăn tràn và kiểm soát quy trình.
Sản xuất thực phẩm và đồ uống: Sử dụng công tắc báo mức để kiểm soát quá trình chiết rót trong hoạt động đóng gói và cảm biến mức để kiểm tra mức lưu trữ thành phần.
Ngành dược phẩm: Các công ty dược phẩm ưa chuộng que đo mức, cảm biến mức để kiểm soát chính xác trong suốt quá trình chế biến và lưu trữ, đảm bảo chất lượng và tuân thủ.
Sản xuất năng lượng: Công tắc mức được sử dụng để vận hành hệ thống làm mát và cảm biến mức để theo dõi việc lưu trữ nhiên liệu.
Nông nghiệp: Chọn công tắc mức cho hệ thống điều khiển tưới tiêu và cảm biến đo mức để theo dõi việc lưu trữ và phân phối nước.
Hàng hải và đóng tàu: Que đo mức được ưu tiên để theo dõi chính xác nhiên liệu và thùng chứa nước, cũng như công tắc mức để quản lý nước
Ứng dụng của Que đo mức thực phẩm cảm biến đo mức nước nóng 300 độ que đo mức nước nóng
Que đo mức thực phẩm Conductivity level switch CoFox ® ELT 680 được ứng dụng trong nhiều ngành công nghiệp và tình huống khác nhau, bao gồm:
Để duy trì mức không đổi nhằm tránh lãng phí vật liệu
Để tắt máy bơm khi cạn và báo hiệu bình chứa rỗng nhằm tránh hao mòn và dừng sản xuất
Công tắc mức có sẵn ở dạng đơn điểm/đa điểm
Không có bộ phận chuyển động, không cần bảo trì
Thích hợp để sử dụng với môi trường dẫn điện, chủ yếu là chất lỏng, ví dụ như sữa, rượu, nước trái cây, nước thải hoặc xút. Cũng thích hợp cho môi trường tạo bọt hoặc chất kết dính, ví dụ như bia hoặc sữa chua.
Thích hợp để sử dụng với chất lỏng dẫn điện có mức cần giới hạn hoặc kiểm soát. Các chất lỏng như nước, nhũ tương hoặc nước thải không được tạo bọt quá mức cũng như không được nhớt hoặc dính (bắc cầu). Nó có thể được vận hành bằng một đầu dò làm công tắc mức hoặc bằng hai đầu dò để điều khiển máy bơm, van, v.v. (khởi động/dừng). Cũng có thể được sử dụng như một thiết bị báo động nước, ví dụ như trong các trạm điều khiển hoặc phòng CNTT, kết hợp với đầu dò nước.
Xử lý nước: Chúng được sử dụng trong các nhà máy xử lý nước để đo mức chất lỏng dẫn điện, chẳng hạn như nước thải, nước cống và hóa chất, trong các bể chứa, bể lắng và bể chứa.
Xử lý hóa chất: Cảm biến báo mức độ dẫn điện được sử dụng trong các nhà máy hóa chất để theo dõi mức chất lỏng dẫn điện, axit, dung môi và hóa chất ăn mòn trong các bể chứa, lò phản ứng và bình xử lý.
Thực phẩm và đồ uống: Chúng được ứng dụng trong ngành thực phẩm và đồ uống để đo mức chất lỏng dẫn điện, chẳng hạn như nước, sữa, nước trái cây và đồ uống, trong các bể chứa và thùng chứa.
Sản xuất dược phẩm: Cảm biến báo mức độ dẫn điện được sử dụng trong các cơ sở dược phẩm để đo mức chất lỏng dẫn điện, thành phần dược phẩm và dung dịch xử lý trong các bể chứa và bình chứa, đảm bảo kiểm soát sản xuất và công thức chính xác.
Nhà máy lọc dầu và hóa dầu: Chúng được sử dụng trong các nhà máy hóa dầu và nhà máy lọc dầu để theo dõi mức chất lỏng dẫn điện, chẳng hạn như dầu thô, sản phẩm dầu mỏ và dung dịch hóa chất, trong các bể chứa và đơn vị xử lý.
Que đo mức hóa chất, nước nóng, LPG, xi măng... đo liên tục Guided micropulse level indicators PulsFox ® PMG 20
Để đo mức liên tục phổ biến trong các thùng chứa, bể chứa hoặc silo. Thích hợp cho môi trường lỏng, dạng bột, dẫn điện hoặc không dẫn điện. Lý tưởng để thay đổi môi trường. Có sẵn đầu dò phủ FEP và phủ PFA cho môi trường ăn mòn, sạch cao hoặc thực phẩm. Cũng phù hợp với bồn chứa áp suất hoặc chân không. Thiết bị có thể dễ dàng điều chỉnh bằng màn hình lập trình với các menu thân thiện với người dùng; nó cũng có chức năng như một màn hình cục bộ.
Phù hợp với mọi chất lỏng và chất rắn chảy tự do
Bể chứa nhiều sản phẩm
Sản xuất thực phẩm
Bể chứa hàng hải và đo độ mớn nước
Ngành công nghiệp hóa chất và dược phẩm
Lưu trữ bitum nóng
Đo mức nước nóng lò hơi nhiệt độ lên đến 300 độ C
Khả năng chống ăn mòn tuyệt vời, lý tưởng cho hóa chất, thực phẩm, dược phẩm, thép, bột giấy và giấy, máy công cụ, thiết bị thủy lực, thiết bị xử lý nước và các máy công nghiệp khác
Bã nho là phần còn lại rắn của nho và các loại cây khác sau khi ép lấy nước. Mặc dù chủ yếu liên quan đến sản xuất rượu vang, bã nho cũng còn lại khi ép cà rốt, cà chua hoặc táo.
Bã nho được chế biến cho nhiều mục đích khác nhau, ví dụ như để sản xuất rượu mạnh, thức ăn chăn nuôi hoặc phân bón. Trước khi bã nho được chế biến thêm, nó được lưu trữ tạm thời trong các silo, giống như trường hợp của một nhà sản xuất nước ép trái cây ở Nam Đức. Công ty đã hiện đại hóa silo bã nho 80 tấn của mình bằng công nghệ đo mức AFRISO và ngoài các giá trị đo lường có độ chính xác cao, giờ đây còn được hưởng lợi từ các quy trình đáng tin cậy và kế hoạch đáng tin cậy.
.webp)
Hệ thống cân trong silo bã nho cao 20 mét của một nhà sản xuất nước ép trái cây cho thấy tỷ lệ hỏng hóc ngày càng tăng và liên tục đưa ra các phép đo không chính xác vì đã ghi lại kết quả theo ngày. Do đó, thường có nhiều bã nho trong silo hơn dự kiến và một phần đáng kể bã nho được thổi vào silo qua một đường ống rơi xuống mái nhà.
Để có thể dựa vào các giá trị đo chính xác để làm đầy và thông báo mức trong bồn, nhà sản xuất nước ép đã chuyển sang các chuyên gia kỹ thuật của AFRISO. Mục tiêu là tìm ra giải pháp đầu tư thấp. Với hệ thống đo mức AFRISO dành riêng cho khách hàng, bao gồm chỉ báo mức liên tục PulsFox® PMG 20 và màn hình hiển thị kỹ thuật số DA 12, một giải pháp đáng tin cậy và chuyên nghiệp đã được triển khai cho nhà sản xuất nước ép trái cây.
.jpg)
Dòng thiết bị đo mức liên tục PulsFox® 20 của nsx AFRISO được thiết kế để đo chính xác mức chất lỏng có độ nhớt cao hoặc độ nhớt thấp, chất kết dính, chất dẫn điện hoặc chất cô lập hoặc chất rắn dạng khối, ví dụ như trong các thùng chứa lưu trữ hoặc silo và bể chứa. Bất kể bể chứa cao hay thấp, lắp đặt gây nhiễu, khoảng cách nhỏ hoặc ví dụ như bọt dẫn điện trên môi trường cần đo - đều có đầu dò phù hợp cho hầu như mọi ứng dụng. Độ ổn định của phép đo và, theo hàm ý, độ chính xác không bị ảnh hưởng bởi bề mặt nhiễu loạn, bốc hơi hoặc bụi cũng như không bị suy giảm bởi những thay đổi về mật độ, áp suất hoặc nhiệt độ. Nhờ vỏ nhôm đúc chắc chắn, các thiết bị cũng lý tưởng cho các điều kiện môi trường khắc nghiệt và các ứng dụng lắp đặt ngoài trời.
Việc lắp đặt thực tế của thiết bị đo mức liên tục PulsFox® 20 đã được hoàn thành nhanh chóng. Đầu dò cáp linh hoạt, dày 4 mm đã được rút ngắn đến độ dài cần thiết và được lắp trong silo. Nhờ màn hình lập trình điều khiển bằng menu, việc lập trình cũng trở thành một "công việc thiết lập" đơn giản. Thiết lập có thể được điều chỉnh bất kỳ lúc nào và không cần đào tạo chuyên sâu của đội ngũ bảo trì. Là một phần của giải pháp này, màn hình lập trình vẫn được gắn trực tiếp vào thiết bị đo để giám sát tại chỗ - việc hình dung thực tế các giá trị mức và cài đặt các giá trị giới hạn diễn ra thông qua bộ hiển thị kỹ thuật số DA 12 được lắp đặt trong phòng điều khiển. Nhờ vỏ gắn giá đỡ tiêu chuẩn, thiết bị nhỏ gọn có thể được lắp trực tiếp vào tủ điện điều khiển hiện có và tích hợp vào hệ thống điều khiển thông qua đầu ra rơle không có điện áp. Giờ đây, nó hoạt động như một thành phần đo lường chính trong quy trình điều khiển.
Không cần phải đầu tư lớn, nhà sản xuất nước ép trái cây giờ đây có thể lập kế hoạch chính xác về việc cung cấp và loại bỏ bã, dựa trên chỉ báo trọng tải chính xác. Và: Không còn bã trên mái nhà nữa.
Dòng thiết bị đo mức liên tục PMG 20 PulsFox được thiết kế để đo chính xác mức chất lỏng có độ nhớt cao hoặc độ nhớt thấp, chất kết dính, chất dẫn điện hoặc chất cô lập hoặc chất rắn dạng khối, ví dụ như trong các thùng chứa lưu trữ hoặc silo hoặc bể chứa. Bất kể bể chứa cao hay thấp, lắp đặt gây nhiễu, khoảng cách nhỏ hoặc bọt dẫn điện trên môi trường cần đo - đều có đầu dò phù hợp cho hầu như mọi ứng dụng. Bức ảnh cho thấy chỉ báo mức PMG 20 MF được gắn ở phía trên cùng của silo. (Ảnh: AFRISO)
.jpg)
Lựa chọn Que đo mức thực phẩm cảm biến đo mức nước nóng 300 độ que đo mức nước nóng như thế nào
Có một số điểm cần lưu ý khi các bạn chọn Que đo mức thực phẩm cảm biến đo mức nước nóng 300 độ que đo mức nước nóng :
Vật liệu que đo mức
Que đo mức được làm từ mọi loại vật liệu có thể tưởng tượng được. Khi xác định công tắc mức nào để mua, điều quan trọng là công tắc mức phải tương thích với vật liệu mà nó sẽ giám sát. Các nhà sản xuất làm que đo mức từ đồng thau, thép không gỉ và nhiều loại nhựa khác nhau. Tất cả các vật liệu này có thể được sử dụng với vật liệu ướt không ăn mòn.
Tính chất hóa học của môi trường được đo có thể ảnh hưởng đến hiệu suất của công tắc mức. Yếu tố này cũng đóng vai trò trong việc xác định xem công tắc có phải là loại ngâm hay không, chẳng hạn như công tắc mức chuyển dịch hay công tắc mức nổi.
Yêu cầu về điện
Để que đo mức hoạt động bình thường, kết nối điện của nó phải phù hợp với nguồn điện. Nguồn điện không đủ hoặc cung cấp quá mức có thể dẫn đến hiệu suất kém của công tắc mức hoặc không kích hoạt.
Xác định đúng loại que đo mức theo nhu cầu của bạn
Xác định lý do mua que đo mức liên quan đến việc quyết định trước loại dữ liệu cần thiết và phương pháp đo. Tất cả các công tắc mức đều được thiết kế để cung cấp các phép đo chính xác. Các loại phép đo cụ thể bị ảnh hưởng bởi cách sử dụng công tắc mức. Thông thường, các ứng dụng yêu cầu hai que đo mức: một để theo dõi mức cạn và một để phát hiện đầy.
Điều cần thiết là phải xác định mức thấp nhất có thể chấp nhận được và mức độ gần nhất của chất lỏng có thể đến đỉnh thùng chứa. Những cân nhắc này thường được xác định bởi kích thước và dung tích của thùng chứa.
Áp suất vật liệu
Vật liệu tạo ra áp suất do trọng lượng của chúng. Khi lựa chọn que đo mức, điều quan trọng là phải đánh giá xem vật liệu được đo có tạo áp suất lên que hay không. Trong những trường hợp như vậy, que đo mức được làm từ vật liệu có khả năng chịu áp suất cao.
Chịu nhiệt độ
Que đo mức có khả năng chịu nhiệt độ khắc nghiệt khác nhau. Vật liệu sử dụng và loại dây sẽ quyết định mức nhiệt mà que có thể chịu được. Mặc dù nhiều công tắc mức có thể xử lý nhiều ứng dụng, nhưng chỉ những que đo được thiết kế riêng cho nhiệt độ cao mới có thể chịu được điều kiện 300°C trở lên.
Tín hiệu đầu ra của Que đo mức thực phẩm cảm biến đo mức nước nóng 300 độ que đo mức nước nóng
Các que đo mức khác nhau cung cấp nhiều loại đầu ra khác nhau, chẳng hạn như tín hiệu rơ le, tín hiệu tương tự hoặc tín hiệu số. Loại đầu ra phải tương thích với bộ điều khiển nhận dữ liệu. Ngoài ra, việc lựa chọn đầu ra có thể liên quan đến việc xem xét độ trễ thời gian, ảnh hưởng đến việc sử dụng đầu ra song song hay nối tiếp.
Kích thước bồn/thùng chứa
Que đo mức nhỏ gọn và di động, giúp dễ dàng xử lý. Mặc dù đây là một tính năng phổ biến, nhưng một số loại que đo mức dễ lắp vào một số kích thước thùng chứa nhất định hơn các loại khác. Khía cạnh này, mặc dù có vẻ đơn giản, nhưng thường bị bỏ qua. Bước đầu tiên khi lựa chọn que đo mức là đo kích thước thùng chứa và xác định số lượng que đo mức cần thiết.
Một số ứng dụng yêu cầu đọc theo cấp số nhân khi mức chất lỏng tăng lên. Điều này có thể đạt được bằng cách sử dụng que đo mức liên tục hoặc máy dò mức điểm được định vị chính xác.

Que đo mức thực phẩm độ dẫn điện Conductivity level switch CoFox ® ELT 680
.webp)
.webp)
Que đo mức hóa chất, nước nóng, LPG, xi măng, thực phẩm... đo liên tục Guided micropulse level indicators PulsFox ® PMG 20
.webp)
Lắp đặt Que đo mức thực phẩm cảm biến đo mức nước nóng 300 độ que đo mức nước nóng
Mặc dù có vẻ đơn giản, nhưng cách lắp que đo mức ảnh hưởng đáng kể đến hiệu suất và chức năng của nó. Về cơ bản, que đo mức có thể được lắp theo chiều ngang hoặc chiều dọc, đây là các tùy chọn lắp cơ bản.
Cấu hình lắp đặt cũng liên quan đến một số cân nhắc, bao gồm kích thước của lỗ lắp, vị trí trên thùng chứa (như bên hông, trên cùng hoặc dưới cùng), phụ kiện có ren hay không ren và que đo sẽ được treo hay gắn trên tường. Mỗi yếu tố này cần được xác định trước khi mua que đo mức.
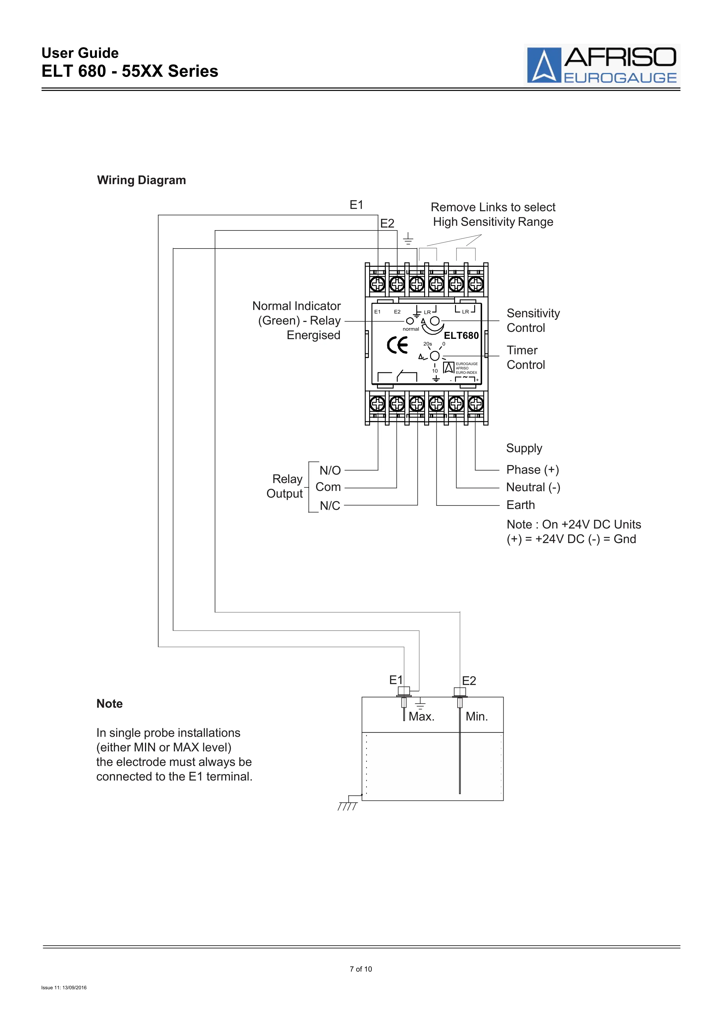
Cách lắp đặt Que đo mức Conductivity level switch CoFox ® ELT 680
ELT 680 là công tắc mức độ dẫn điện lắp trên thanh ray DIN với phạm vi điều chỉnh rất rộng, đặc biệt được thiết kế để sử dụng với chất lỏng dẫn điện trong các nhà máy sữa, nhà máy bia, nhà máy kem, v.v., nơi bọt dày đặc và chất lỏng có thể gây ra sự cố chuyển mạch với công tắc mức mục đích chung. Thiết bị có thể được sử dụng với một hoặc hai đầu dò cảm biến (bơm bật/tắt).
ELT 680 có khả năng phân biệt giữa các lớp bọt dày đặc và bề mặt chất lỏng thực tế, giúp thiết bị phù hợp để phát hiện giao diện trong đường ống giữa bia/nước, sữa/nước, xút/nước, v.v.
Các tính năng đặc biệt của ELT 680 bao gồm bộ chọn 'an toàn khi hỏng' tích hợp và mạch hẹn giờ 0-20 giây tùy chọn.
Một điện cực đơn hoặc nhiều thanh cách điện một phần được chọn từ phạm vi đầu dò cảm biến AFRISO và được lắp đặt trong thùng chứa hoặc đường ống.
Khi điện cực tiếp xúc với chất lỏng dẫn điện, một mạch điện xoay chiều được hoàn thành thông qua chất lỏng đến thành bình chứa kim loại hoặc đến điện cực nối đất. Hoàn thành mạch điện này sẽ vận hành rơ le đầu ra.
Lắp đặt
Công tắc dẫn điện phải được lắp đặt bằng loại kết nối được cung cấp. Bể chứa phải không có nhiễu loạn hoặc xoáy trong suốt quá trình sử dụng. Khi siết chặt công tắc, chỉ sử dụng khớp nối lục giác để đạt được độ kín, không vặn bằng vỏ.
Khi lắp công tắc trực tiếp vào bể chứa hoặc sử dụng kết nối "T", hãy đảm bảo rằng thanh kéo dài ra ngoài thành trong của bể chứa để các chất tích tụ bên trong hoặc các mảnh vụn khác không ảnh hưởng đến hiệu suất của công tắc.
Cũng cần cẩn thận khi xử lý và lắp đặt công tắc bằng thanh phủ.
Làm xước lớp phủ có thể ảnh hưởng đến hiệu suất của công tắc.
.webp)
Bộ điều khiển được thiết kế để lắp trên bảng điều khiển.
Kiểm tra xem điện áp cung cấp, như được chỉ ra trên nhãn bên hông của thiết bị, có phù hợp với ứng dụng hay không.
ELT 680 được thiết kế để lắp vào thanh ray DIN đối xứng, được lắp vào vỏ bọc phù hợp.
Vỏ bọc chống chịu thời tiết, có tấm lắp thanh ray DIN, có sẵn theo yêu cầu cho các ứng dụng mà thiết bị phải được lắp ngoài trời hoặc trong môi trường khắc nghiệt. Vỏ bọc có nắp trong suốt cho phép dễ dàng quan sát đèn báo.
Dây điện
Tất cả dây điện phải có cáp phù hợp với điều kiện ứng dụng.
Việc lắp đặt phải tuân thủ các quy định IEEE có liên quan, cùng với bất kỳ yêu cầu theo luật định nào khác có thể ảnh hưởng đến toàn bộ quá trình lắp đặt.
Các mạch thăm dò (đầu cuối E1, E2 và Gnd) không được đấu dây bằng dây cách điện bằng khoáng chất (MICC) vì có thể xảy ra hiện tượng
hoạt động không ổn định và mất tín hiệu. Nên sử dụng cáp có lớp cách điện bằng polyethylene hoặc PVC cho tất cả các mạch tín hiệu, kích thước ruột dẫn khuyến nghị là 1,5mm 2 .
Có thể sử dụng cáp nhiều lõi cho các mạch tín hiệu với điều kiện không bao gồm cáp điện áp cung cấp.
Cáp nhiều lõi phải là loại cáp xoắn đôi. Không được đấu nối đất chung.
Chạy cáp tín hiệu (đầu cuối E1 và E2) riêng biệt với cáp nguồn hoặc sử dụng cáp có màn chắn để đảm bảo hiệu suất tối ưu.
Phải nối đất cho hộp đựng hoặc nếu hộp đựng có kết cấu không phải bằng kim loại hoặc được lót bên trong, phải lắp đặt điện cực nối đất riêng
Trong các lắp đặt đầu dò đơn, điện cực phải luôn được kết nối với E1.
Vận hành
Trước khi bật nguồn điện, hãy kiểm tra xem thiết bị đã được đấu dây theo sơ đồ đấu dây chưa và điện áp cung cấp, như được chỉ ra trên nhãn bên của thiết bị, có chính xác cho quá trình lắp đặt không.
Thiết bị được trang bị các liên kết chọn chế độ an toàn bên trong, nằm trên PCB chính giữa máy biến áp và rơle đầu ra (xem sơ đồ), được thiết lập sẵn cho chế độ an toàn mức cao (HL).
Mục đích của các liên kết là đảm bảo rằng rơle luôn được ngắt điện, như được chỉ ra bằng đèn LED tắt, khi đạt đến tình trạng báo động.
Có thể thay đổi chế độ an toàn bằng cách cẩn thận tháo thiết bị ra khỏi vỏ và đặt các liên kết ở vị trí an toàn mức thấp (LL).
Lưu ý
Thiết bị đã được thiết lập tại nhà máy ở phạm vi thấp bằng cách lắp các liên kết LR bên ngoài. Điều này cho phép thiết bị phát hiện hầu hết các chất lỏng dẫn điện và giao diện chất lỏng dẫn điện như sữa/nước.
Các trường hợp ngoại lệ đối với điều này là các chất lỏng có độ dẫn điện thấp như hầu hết các loại nước máy, đường lỏng, v.v. trong đó phạm vi cao nên được chọn bằng cách tháo các liên kết LR.
Bật nguồn và đợi vài phút để thiết bị ổn định. Xoay bộ điều khiển hẹn giờ hoàn toàn ngược chiều kim đồng hồ (thời gian trễ bằng không).
Với đầu dò không được che phủ, hãy xoay bộ điều khiển độ nhạy hoàn toàn theo chiều kim đồng hồ. Nếu, với bình rỗng, chế độ an toàn HL được
chọn thì đèn LED sẽ bật, nếu chế độ an toàn LL đã được chọn thì đèn LED sẽ tắt.
Đổ đầy bình đến mức yêu cầu; khi đầu dò được phủ chất lỏng, đèn LED sẽ thay đổi trạng thái.
Nếu điều này không xảy ra, hãy chọn phạm vi cao bằng cách tháo các liên kết phạm vi thấp (LR), đèn LED sẽ thay đổi trạng thái.
Từ từ xoay bộ điều khiển độ nhạy theo hướng ngược chiều kim đồng hồ cho đến khi đèn LED thay đổi trạng thái.
Sau đó, xoay rất chậm bộ điều khiển độ nhạy theo chiều kim đồng hồ cho đến khi đèn LED thay đổi trạng thái một lần nữa. Thiết bị hiện đã được khử nhạy để không phát hiện bọt, v.v. trên bề mặt chất lỏng.
Bộ hẹn giờ có thể được đặt để trì hoãn việc ngắt điện của rơ le lên đến 20 giây.
Vào cuối chu kỳ hẹn giờ, đèn LED sẽ thay đổi trạng thái (nếu tình trạng báo động vẫn còn ở điện cực).
Trong các ứng dụng phát hiện giao diện (ví dụ: sữa/nước), phải quyết định xem sữa (chế độ an toàn HL) hay nước (chế độ an toàn LL) biểu thị tình trạng báo động.
Đối với phát hiện giao diện (ví dụ: sữa/nước), hãy đặt bộ điều khiển Độ nhạy hoàn toàn ngược chiều kim đồng hồ. Phủ hoàn toàn đầu dò bằng sữa, nếu đã chọn chế độ an toàn HL, đèn LED sẽ tắt và nếu đã chọn chế độ an toàn LL, đèn LED sẽ sáng. Nếu trạng thái đèn LED không chính xác, hãy xoay rất chậm độ nhạy theo chiều kim đồng hồ cho đến khi trạng thái đèn LED chính xác.
Cách lắp đặt Que đo mức hóa chất, nước nóng, LPG, xi măng, thực phẩm... đo liên tục Guided micropulse level indicators PulsFox ® PMG 20
Vùng chết Dead zone
.webp)
Lắp đặt ở cổ bình chứa

Lắp đặt vào Silo bê tông
.webp)
Lắp đặt ở bồn cao hoặc silo sâu
.webp)
Kết nối cáp với sản phẩm
1. Tháo đai ốc của nắp trong suốt phía trên.
2. Lấy vỏ bảo vệ của mặt hiển thị hiển thị và nhẹ nhàng tháo ra bằng cách xoay nhẹ lên.
- Nếu bạn không thể nắm chặt mô-đun mặt hiển thị, bạn có thể sử dụng tua vít nhỏ. Lắp tua vít vào đến khớp nối và sử dụng từ nhiều phía để nâng nhẹ mô-đun lên.
3. Nới lỏng đầu nối cáp và dẫn cáp qua cáp qua đầu nối cáp bên dưới
mô-đun hiển thị. Kết nối pha với cực + và dây trung tính với cực -.
4. Trong trường hợp cáp có vỏ bọc, hãy kết nối vỏ bọc với cực nối đất.
5. Kết nối các đường truyền thông A và B của đường RS-485 (đối với phiên bản "M" - Modbus) với các cực A và B.
6. Siết chặt các cực và đầu nối cáp
- Để biết mô-men xoắn siết chặt, hãy liên lạc với cty Phát Đạt chúng tôi..
7. Lắp lại mô-đun hiển thị vào đầu để đầu nối được kết nối đúng cách.
8. Trượt miếng đệm silicon vào ren của thân máy đo mức.
9. Siết chặt đai ốc của nắp trên
.webp)
.webp)
HIỂN THỊ: đơn vị hiển thị trên màn hình (%, mm, cm, m, in, ft, l, hl, m 3 , gal, bbl, mA)
Lắp đặt điện cực đo tùy chỉnh, thay đổi hoặc rút ngắn điện cực đo
Lắp đặt điện cực đo tùy chỉnh - áp dụng cho loại
1. Chuẩn bị điện cực đo dựa trên hình 13 phía dưới. Chiều dài của điện cực phải ngắn hơn 7 mm so với kích thước „E“ trong hình 13 .
Sử dụng thép không gỉ 1.4404 (AISI 316 L) hoặc vật liệu tương tự cho điện cực tùy thuộc vào ứng dụng.
2. Bôi chất khóa vít lỏng vào ren của điện cực đã hoàn thiện (Số lượng tùy thuộc vào nhà sản xuất). Chất khóa vít lỏng phải chịu được ví dụ như nhiệt độ cao, ăn mòn, hóa chất hoặc phải được chấp thuận để sử dụng trong ngành thực phẩm.
3. Vặn chặt điện cực bằng kìm hoặc cờ lê (phía điện cực) và cờ lê SW 10 (phía giá đỡ điện cực) vào giá đỡ điện cực cho đến khi dừng lại.
4. Để kết nối đông cứng theo khuyến nghị của nhà sản xuất tủ khóa vít.
5. Sau khi lắp vào bình rỗng, nhập chiều dài và loại điện cực vào cài đặt dịch vụ, xem Chương ĐIỆN CỰC.
6. Cài đặt phạm vi đo mới (nếu cần), MỨC MIN/MAX.
.webp)
Thay thế điện cực đo chỉ cho các phiên bản 20, 60, 62, 63
1. Làm nóng vị trí nối (kết nối ren) của điện cực và giá đỡ điện cực bằng súng nhiệt ở nhiệt độ khoảng 120-150 ° C (hoặc 220-250 ° C đối với phiên bản nhiệt độ cao).
2. Tháo điện cực bằng kìm phù hợp (đối với điện cực thanh) hoặc cờ lê phẳng 7 mm (trong trường hợp điện cực dạng dây) và cờ lê phẳng 10 mm (ở bên cạnh giá đỡ điện cực) cách xa giá đỡ điện cực.
3. Bôi chất khóa vít lỏng vào các ren của điện cực mới (Số lượng tùy thuộc vào nhà sản xuất). Chất khóa vít lỏng phải có khả năng chống chịu, ví dụ: ở nhiệt độ cao, ăn mòn, hóa chất hoặc phải được chấp thuận để sử dụng trong ngành thực phẩm.
4. Vặn điện cực bằng kìm hoặc cờ lê (phía điện cực) và cờ lê SW 10 (phía
giá đỡ điện cực) vào giá đỡ điện cực cho đến khi dừng lại.
5. Để kết nối đông cứng theo khuyến nghị của nhà sản xuất .
6. Sau khi lắp vào bình rỗng, nhập chiều dài và loại điện cực vào cài đặt dịch vụ
7. Cài đặt phạm vi đo mới (nếu cần).
Sản phẩm được trang bị khả năng bảo vệ chống điện giật trên điện cực, phân cực ngược, quá tải dòng điện đầu ra, ngắn mạch và quá tải dòng điện đầu ra.
Bảo vệ chống tiếp xúc nguy hiểm được cung cấp bằng điện áp an toàn thấp theo Chỉ thị tương thích điện từ 2014/30/EU.
Chống cháy nổ PMG 20...Ex được cung cấp theo tiêu chuẩn EN 60079-0:2018 và EN 60079-11:2012. Chống cháy nổ PMG 20...Ex được xác minh FTZÚ – AO (Physikalisch-technisches Prüfin-stitut – benannte Stelle) 210 Ostrava – Radvanice: FTZÚ 20 ATEX 0091X.
Chống cháy nổ PMG 20...Ex được cung cấp theo tiêu chuẩn EN 60079-0:2013; EN 60079-31:2014. Chống cháy nổ PMG 20...Ex được xác minh FTZÚs.p. (Physikalisch-technisches Prüfinstitut –benannte Stelle) 210 Ostrava – Radvanice: FTZÚ 20 ATEX 0091X.
Thiết bị điện được cung cấp đáp ứng các yêu cầu của các chỉ thị hợp lệ của Châu Âu về an toàn và khả năng tương thích điện từ.
Các điều kiện đặc biệt để sử dụng an toàn các biến thể PMG 20...EX
PulsFox® PMG 20 EX được thiết kế để kết nối với các mạch an toàn nội tại có cách ly điện hóa.
Nếu bạn sử dụng thiết bị không có cách ly điện hóa (rào cản Zener), cần phải bù điện thế giữa cảm biến và điểm nối đất của rào cản.
Các thông số đầu ra tối đa của các đơn vị an toàn nội tại phải tương ứng với các thông số đầu vào giới hạn của đồng hồ đo mức. Trong quá trình đánh giá độ an toàn nội tại của mạch, phải tính đến các thông số của cáp được kết nối (đặc biệt là độ tự cảm và điện dung của nó).
Phần điện cực của PMG 20...EX có thể được đặt ở vùng 0, phần thân có thiết bị điện tử có thể được đặt ở vùng 1.
An toàn, Bảo vệ, Khả năng tương thích và Chống cháy nổ
Điều kiện đặc biệt để sử dụng an toàn các biến thể PMG 20 EX
Nhiệt độ môi trường xung quanh của vỏ Ta: -30 °C đến 70 °C.. Khi sử dụng biến thể có nắp kính quan sát, vỏ phải được bảo vệ khỏi ánh sáng mặt trời trực tiếp.
Bảo trì Que đo mức thực phẩm cảm biến đo mức nước nóng 300 độ que đo mức nước nóng
Cách bảo trì và khắc phục sự cố cho que đo mức và bộ điều khiển đo độ dẫn điện Conductivity level switch CoFox ® ELT 680
Bảo trì và khắc phục sự cố thường xuyên cho que đo và bộ điều khiển đo độ dẫn điện là điều cần thiết để đảm bảo phép đo chính xác và kéo dài tuổi thọ của thiết bị. Sau đây là một số cách bảo trì và khắc phục sự cố cần ghi nhớ:
Vệ sinh que đo: Cảm biến độ dẫn điện có thể bị bẩn theo thời gian, điều này có thể ảnh hưởng đến độ chính xác của chúng. Vệ sinh thường xuyên bằng bàn chải mềm hoặc vải và chất tẩy rửa nhẹ có thể giúp cảm biến sạch sẽ và không có mảnh vụn.
Kiểm tra nhiệt độ: Các phép đo độ dẫn điện phụ thuộc vào nhiệt độ, vì vậy điều cần thiết là phải đảm bảo nhiệt độ của chất lỏng và thiết bị ổn định và nằm trong phạm vi hoạt động của thiết bị.
Kiểm tra hư hỏng: Que đo và bộ điều khiển đo độ dẫn điện có thể bị hỏng theo thời gian, đặc biệt là nếu chúng tiếp xúc với hóa chất mạnh hoặc các chất ăn mòn khác. Kiểm tra thường xuyên thiết bị để tìm dấu hiệu hư hỏng, chẳng hạn như nứt hoặc vỡ và thay thế thiết bị nếu cần.
Khắc phục sự cố thường gặp: Nếu thiết bị không cung cấp phép đo chính xác hoặc bị trục trặc, hãy thử khắc phục sự cố thường gặp như kiểm tra nguồn điện, kiểm tra cáp và kết nối.
Bằng cách làm theo các mẹo bảo trì và khắc phục sự cố này, bạn có thể đảm bảo que đo hoặc máy đo độ dẫn điện của mình hoạt động chính xác, cung cấp phép đo chính xác và sử dụng được lâu nhất có thể.
Những quan niệm sai lầm thường gặp về que đo và bộ điều khiển đo độ dẫn điện
Cảm biến và bộ điều khiển đo độ dẫn điện là những công cụ thiết yếu để đo độ dẫn điện của các dung dịch và hỗn hợp khác nhau. Tuy nhiên, có một số quan niệm sai lầm về các thiết bị này có thể dẫn đến nhầm lẫn và hiểu lầm. Sau đây là một số quan niệm sai lầm thường gặp về cảm biến và máy đo độ dẫn điện:
Độ dẫn điện và TDS là một: Tổng chất rắn hòa tan (TDS) là phép đo lượng chất rắn hòa tan trong dung dịch, trong khi độ dẫn điện là phép đo khả năng dẫn điện của dung dịch. Mặc dù TDS có thể được sử dụng để ước tính độ dẫn điện, nhưng hai thứ này không giống nhau và phép đo độ dẫn điện có thể cung cấp thông tin chi tiết hơn về thành phần của dung dịch.
Đo độ dẫn điện không bị ảnh hưởng bởi nhiệt độ: Đo độ dẫn điện phụ thuộc rất nhiều vào nhiệt độ. Nhiệt độ thay đổi có thể ảnh hưởng đáng kể đến phép đo độ dẫn điện và điều cần thiết là phải đảm bảo nhiệt độ của chất lỏng và thiết bị ổn định và nằm trong phạm vi hoạt động của thiết bị.
Cảm biến và máy đo độ dẫn điện chỉ được sử dụng cho nước: Mặc dù cảm biến và máy đo độ dẫn điện được sử dụng rộng rãi trong các ứng dụng giám sát chất lượng nước, nhưng chúng có thể được sử dụng để đo độ dẫn điện của bất kỳ dung dịch hoặc hỗn hợp nào, bao gồm hóa chất, thực phẩm và đồ uống, dược phẩm, v.v.
Que đo và bộ điều khiển đo độ dẫn điện khó sử dụng: Mặc dù cảm biến và bộ điều khiển đo độ dẫn điện có vẻ phức tạp, nhưng chúng tương đối dễ sử dụng với một số kiến thức cơ bản và đào tạo. Hầu hết các thiết bị đều có hướng dẫn sử dụng và hướng dẫn để giúp người dùng bắt đầu.
Đo độ dẫn điện cung cấp mọi thông tin cần thiết để kiểm soát chất lượng: Mặc dù phép đo độ dẫn điện có thể cung cấp thông tin có giá trị về thành phần của dung dịch, nhưng chúng không phải là thước đo toàn diện về chất lượng. Các yếu tố khác, chẳng hạn như độ pH, nhiệt độ và thành phần hóa học, cũng cần được xem xét khi đánh giá chất lượng sản phẩm.
Bằng cách hiểu những quan niệm sai lầm phổ biến này về cảm biến và máy đo độ dẫn điện, người dùng có thể đưa ra quyết định sáng suốt hơn về cách sử dụng và diễn giải các phép đo do các thiết bị này cung cấp.
Tóm lại
Que đo mức và bộ điều khiển đo độ dẫn điện là những công cụ thiết yếu để đo độ dẫn điện của các dung dịch và hỗn hợp khác nhau, với các ứng dụng trong nhiều ngành công nghiệp, bao gồm xử lý nước, thực phẩm và đồ uống, dược phẩm, v.v. Các thiết bị này cung cấp các phép đo chính xác, đáng tin cậy có thể giúp người dùng theo dõi chất lượng và thành phần của sản phẩm và quy trình của họ.
Để tận dụng tối đa cảm biến và bộ điều khiển đo độ dẫn điện, điều quan trọng là phải hiểu cách chúng hoạt động, cách hiệu chuẩn và bảo trì chúng đúng cách và cách diễn giải các phép đo mà chúng cung cấp. Điều quan trọng nữa là phải nhận thức được những quan niệm sai lầm phổ biến về các thiết bị này, chẳng hạn như quan niệm cho rằng độ dẫn điện và TDS là một hoặc phép đo độ dẫn điện không bị ảnh hưởng bởi nhiệt độ.
Bằng cách tuân thủ các biện pháp hiệu chuẩn, bảo trì và khắc phục sự cố tốt nhất, người dùng có thể đảm bảo rằng cảm biến và máy đo độ dẫn điện của họ hoạt động chính xác và cung cấp các phép đo chính xác. Và bằng cách tránh những quan niệm sai lầm phổ biến, người dùng có thể đưa ra quyết định sáng suốt hơn về cách diễn giải và áp dụng dữ liệu do các thiết bị này cung cấp.
Nhìn chung, que đo mức và bộ điều khiển đo độ dẫn điện là những công cụ hữu ích cho bất kỳ ai cần đo độ dẫn điện của các dung dịch và hỗn hợp khác nhau và bằng cách tuân thủ các biện pháp hiệu chuẩn và tránh những quan niệm sai lầm, người dùng có thể tận dụng tối đa các thiết bị này cho các ứng dụng cụ thể của họ.
Cách bảo trì và khắc phục sự cố cho que đo mức liên tục Guided micropulse level indicators PulsFox ® PMG 20
Sản phẩm không yêu cầu bất kỳ nhân sự nào để vận hành. Thiết bị hiển thị theo dõi được sử dụng để thông báo cho nhân viên vận hành của đơn vị công nghệ về độ cao mực chất đã đo được trong quá trình vận hành và tại vị trí hiển thị của máy đo mức.
Việc bảo trì thiết bị này bao gồm việc xác minh tính toàn vẹn của máy đo mức và cáp cung cấp. Tùy thuộc vào đặc tính của chất được đo, chúng tôi khuyến nghị kiểm tra ít nhất một lần mỗi năm điện cực đo của máy đo mức. Trong trường hợp phát hiện bất kỳ khiếm khuyết nào có thể nhìn thấy,phải liên hệ ngay với chúng tôi.
Sản phẩm phải được lắp đặt để ngăn ngừa quá tải kéo của điện cực dây.
Không được thực hiện bất kỳ sửa đổi hoặc can thiệp nào vào PMG 20 mà không có sự chấp thuận của nhà sản xuất. Việc sửa chữa tiềm ẩn phải được thực hiện bởi nhà sản xuất hoặc chỉ bởi tổ chức dịch vụ được nhà sản xuất ủy quyền. Việc lắp đặt, đưa vào vận hành, vận hành và bảo trì PMG 20 phải được thực hiện theo hướng dẫn sử dụng này; phải tuân thủ các quy định hiện hành liên quan đến việc lắp đặt thiết bị điện.
Một số câu hỏi của khách về Que đo mức thực phẩm cảm biến đo mức nước nóng 300 độ que đo mức nước nóng
Câu hỏi thường gặp
Câu hỏi 1: Tôi có thể sử dụng cảm biến độ dẫn điện để đo độ mặn của nước biển không?
Trả lời 1: Có, cảm biến độ dẫn điện có thể được sử dụng để đo độ mặn của nước biển bằng cách chuyển đổi phép đo độ dẫn điện thành phép đo độ mặn bằng công thức hoặc bảng tính đến nhiệt độ và các yếu tố khác.
Câu hỏi 2: Có thể sử dụng Que đo độ dẫn điện để đo độ tinh khiết của nước không?
Trả lời 2: Que đo độ dẫn điện có thể được sử dụng để đo độ tinh khiết của nước, nhưng chúng nên được sử dụng kết hợp với các phép đo khác, chẳng hạn như độ pH và tổng lượng cacbon hữu cơ, để cung cấp bức tranh toàn diện hơn về chất lượng nước.
Câu hỏi 3: Làm thế nào để khắc phục sự cố bộ điều khiển đo độ dẫn điện đưa ra các phép đo không ổn định?
Trả lời 3: Các phép đo không ổn định có thể do nhiều yếu tố gây ra, chẳng hạn như ô nhiễm, nhiễu điện hoặc hiệu chuẩn không đúng cách. Để khắc phục sự cố, hãy thử vệ sinh que đo, kiểm tra các kết nối và hiệu chuẩn lại bộ điều khiển . Nếu sự cố vẫn tiếp diễn, hãy liên hệ với nhà sản xuất để được hỗ trợ.
Câu hỏi 4: Tôi có thể sử dụng cảm biến độ dẫn điện để đo nồng độ của một hóa chất cụ thể trong dung dịch không?
Trả lời 4: Que đo độ dẫn điện có thể cung cấp phép đo gián tiếp nồng độ của một số hóa chất trong dung dịch, nhưng chúng thường không được sử dụng làm phương pháp chính để phân tích hóa học. Để đo hóa học chính xác và chuẩn xác, cần sử dụng các thiết bị phân tích chuyên dụng.
Giá của Que đo mức thực phẩm cảm biến đo mức nước nóng 300 độ que đo mức nước nóng
Giá sẽ phụ thuộc vào độ dài que, nhiệt độ hoạt động, lưu chất đo là gì , tín hiệu đầu ra của que đo….
Câc bạn nên liên lạc với Phòng Kinh doanh Công ty Phát Đạt để được báo giá chính xác và nhanh nhất nhé.
Mua Que đo mức thực phẩm cảm biến đo mức nước nóng 300 độ que đo mức nước nóng ở đâu ?
Các bạn có thể xem hàng và mua trực tiếp tại văn phòng Công ty Phát Đạt. Địa chỉ 41F/96/18 Đường Đặng Thùy Trâm, P13, Q Bình Thạnh, HCM.
Các bạn ở xa thì Phát Đạt có thể giao Que đo mức thực phẩm cảm biến đo mức nước nóng 300 độ que đo mức nước nóng bằng chành xe, cpn Viettel.
Hỗ trợ giải đáp thắc mắc về cách lắp đặt, cách cài đặt thông số kỹ thuật của Que đo mức thực phẩm cảm biến đo mức nước nóng 300 độ que đo mức nước nóng .
Các bạn có thể liên lạc 24/7 vào số điện thoại 0283 5531725. Email: info@phatdatcompany.com